This is 1000W power amplifier circuit built using many power transistors. The following scheme diagram is used for single/mono channel only, you may build two same circuit for stereo audio system.
Circuit Diagram:
The power supply needed for this circuit should be 10A minimum single channel and 20A for stereo channel. It uses symmetrical power supply (dual polarity) with recommended voltage is 63V.
Component List:
The power transistors 2SA1216 and 2SC2922 must be mounted on heatsink to prevent overheating which will affect to the sound performance and make the transistors damaged faster than normal condition.
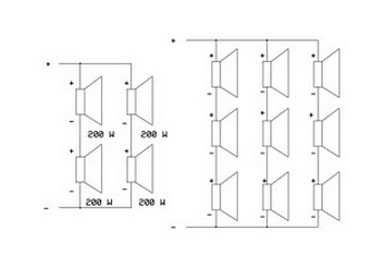
Loudspeaker Combination:
To get the speakers with great power combining techniques can be used in parallel series, combining each group of speakers should sepaker they will have the same impedance, the same type (Woofer, Mid Range or tweeter) and the same power. Make sure the volume level adjusted in lowest position when make a trial of this 1000w power audio amplifier.





PCB layout is possible for this amplifier ….?
Where i buy 1000w power audio amplifier? Thanks
Pls. provide me the PCB layout and the step by step adjustment procedure and the value of the differential pair on the input. Will this give a 500watts @ 8 ohms per channel? Thanks.
Can this amplifier do 1000 Watts RMS into 4 ohms?
what would be the possible lay out of pcb or the clip art of pcb???